安卓折叠屏都卷到第五代了,果粉们的灵魂拷问终于要有答案。那个“不做则已,一做必封神”的苹果,真的要带着无折痕折叠屏iPhone进场了!

从三星Galaxy Z系列到华为Mate X系列,我们等了苹果整整八年。不是安卓机不好,而是用过iOS生态的人都懂,那种流畅度和适配感,始终让人对苹果的折叠屏抱有执念。现在,这份执念终于要落地了。
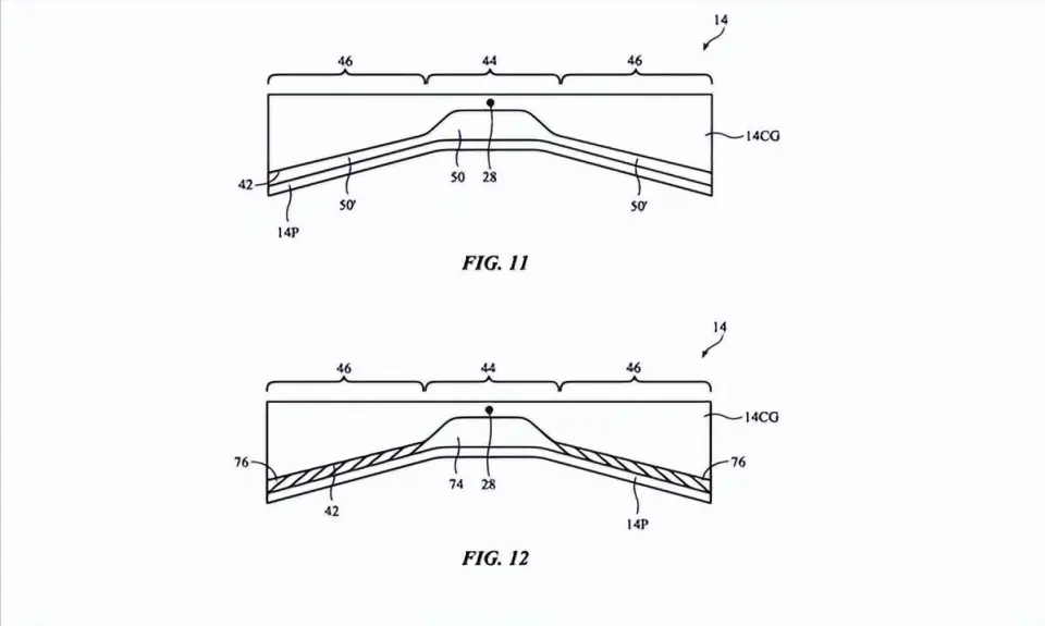
最靠谱的信号来自苹果2024年7月拿下的“电子设备与耐用折叠显示屏”专利。这份从2021年就开始申请的专利里藏着大玄机:当手机跌落时,屏幕会自动绕着弯曲轴轻微折叠,让机身边缘先着地,把娇贵的内屏护得严严实实。光这一个细节就看得出来,苹果不是在跟风做折叠,而是把“耐用性”刻进了骨子里。

大家最关心的折痕问题,苹果直接放出了“消灭”的狠话。根据郭明錤的最新爆料,首款折叠屏iPhone会采用特殊聚合物填充技术,搭配液态金属铰链,经过50万次折叠测试后,屏幕平整度误差不到0.1毫米,日常使用几乎看不见折痕。这对强迫症来说,简直是福音。
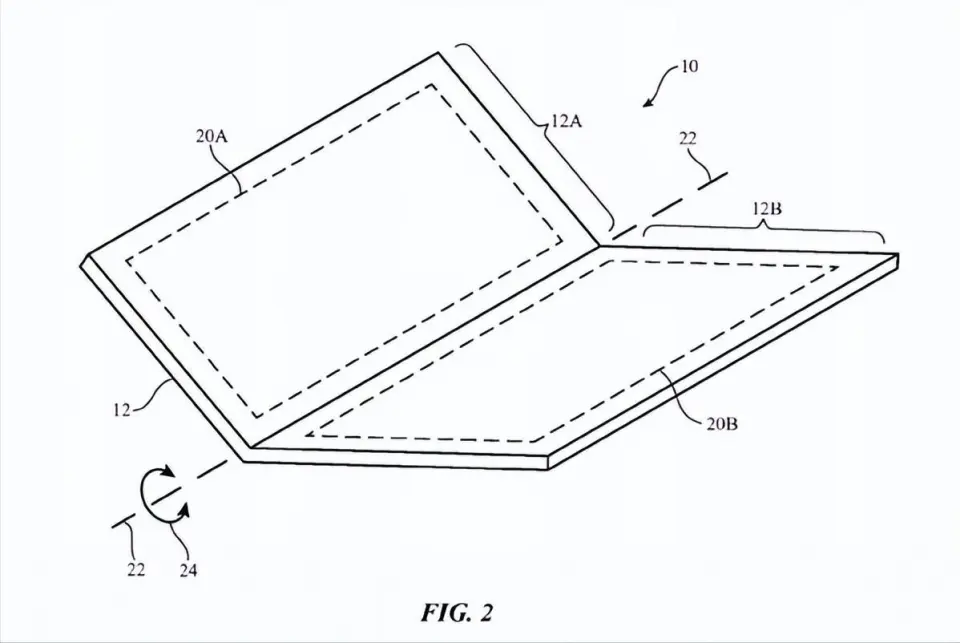
产品形态上,目前有两种主流传闻。更被看好的是书本式折叠:展开是7.8英寸内屏,刷剧、看文档堪比小平板;合上是5.5英寸外屏,单手操作毫无压力。折叠后厚度控制在9毫米左右,展开仅4.5毫米,比现在的iPhone 15 Pro还轻薄。

另一款则是类似三星Z Flip的翻盖式设计,目标是做到现有iPhone一半的厚度。为了极致轻薄,苹果可能会舍弃Face ID,把Touch ID集成到侧边按钮里,虽然少了点科技感,但换来了揣兜无压力的便携性,也算取舍有道。

价格和发布时间也有了眉目。郭明錤预测售价在2000-2500美元之间,约合人民币1.4-1.8万元,和安卓高端折叠屏持平。出货量目标300-500万台,看得出来苹果对首秀很有信心。
至于什么时候能买到,目前有两种说法:乐观派认为2026年底就能见真机,保守的TrendForce则觉得要等到2027年,毕竟苹果对品控的要求出了名的严,宁肯推迟也不愿拿“半成品”试水。

更惊喜的是,折叠屏iPhone只是开始。爆料称苹果还在研发折叠屏iPad,8英寸屏幕接近iPad Mini,因为不用揣口袋,在厚度和重量上会更宽松,说不定会先于手机发布。
这些年折叠屏iPhone的传闻从2023年说到2027年,每次爆料都让数码圈沸腾。这背后其实是大家对“完美折叠屏”的期待,而苹果最擅长的,就是把成熟的技术打包成用户想要的体验。

虽然官方还没官宣,但专利落地、供应链动起来、分析师集体背书,这些信号都在说明:折叠屏iPhone真的不远了。如果苹果能如期解决折痕和耐用性问题,凭借iOS生态的分屏适配优势,说不定真能重新定义折叠屏体验。你准备好为这份“苹果式创新”买单了吗?





