IT之家 9 月 13 日消息,科技媒体 bleepingcomputer 昨日(9 月 12 日)发布博文,报道称微软已提醒用户,Windows 11 23H2 家庭版和专业版将于 11 月结束支持,届时将不再提供安全与预览更新。
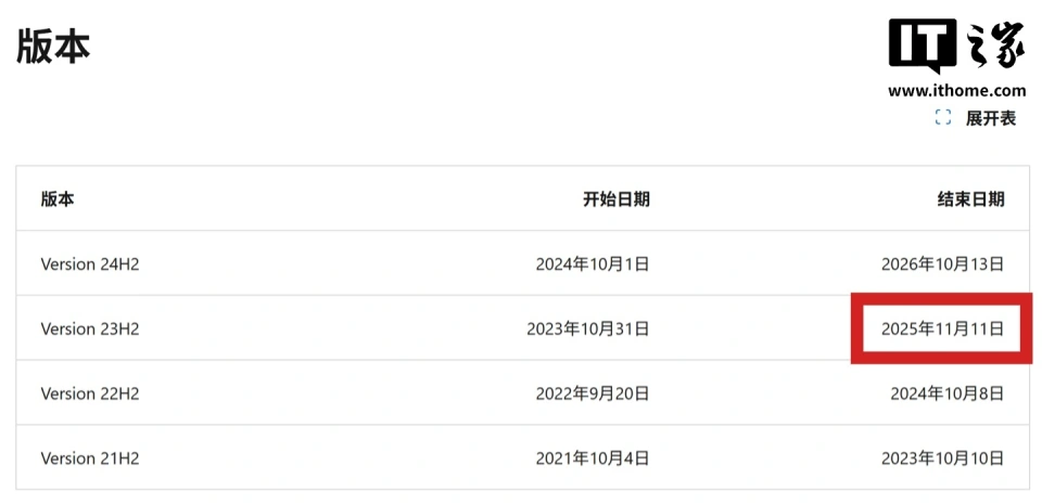
微软今日提醒用户,运行 Windows 11 23H2 家庭版和专业版的设备将在 2025 年 11 月 11 日结束服务支持。届时,11 月的安全更新将是最后一次推送,之后将不再提供任何月度安全补丁或预览更新。

Windows 11 23H2 家庭版和专业版
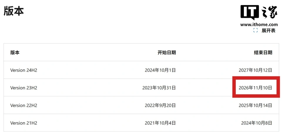
相比之下,企业版与教育版将获得额外一年的主流支持,直至 2026 年 11 月 10 日。

Windows 11 23H2 企业版与教育版
微软建议 23H2 用户尽快升级至最新的 Windows 11 24H2(2024 年更新版),该版本于 2024 年 10 月面向符合条件的 Windows 11 22H2/23H2 设备全面开放。不过,升级前需注意,部分设备因驱动或软件不兼容而被实施“升级保护阻止”。
IT之家援引博文介绍,当前存在的阻止条件包括搭载不兼容的 Intel Smart Sound Technology(SST)音频驱动、SenseShield 代码混淆驱动、部分壁纸定制软件、集成摄像头以及 Dirac 音效增强软件的设备。这些设备若直接升级,可能出现蓝屏死机或功能异常,因此微软会延迟其更新推送,待解决兼容性问题后再推送。
此外,微软在 2025 年 7 月已提醒,Windows 11 22H2 的最后支持版本将于 2025 年 10 月 14 日结束服务。用户可通过 Windows 生命周期常见问题页面或生命周期策略搜索工具,查询不同版本的终止支持时间,以及即将退役的产品清单,以便及时升级或更换系统。





